Fixed Fork Pallet Lifter
Frame with fixed forks width for handling loads similar in size and shape or repetitive handling of the same size load.
Product Features
- Converts overhead crane to lift truck.
- Counter balanced to hang level when empty.
- Maintenance free.
- Allows for ease of loading/unloading in not easily accessible areas.
- Complies with ASME standards.
Product Specifications

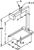
| Model 90 Specifications | ||||||||||||
|---|---|---|---|---|---|---|---|---|---|---|---|---|
| Dimensional Information (all dimensions in inches, unless otherwise specified) | ||||||||||||
| Model Number | Capacity (tons) | L | M | N | W | E | A | B | C | J* | HR | Weight (lbs.) |
| 90-1-36 | 1 | 36 | 2 | 2 | 25 | 18 | 1 | 6 | 5 | 48 | 57-1/2 | 292 |
| 90-1-42 | 1 | 42 | 2 | 2 | 25 | 21 | 1 | 6 | 5 | 48 | 57-1/2 | 310 |
| 90-1-48 | 1 | 48 | 2 | 2 | 25 | 24 | 1 | 6 | 5 | 48 | 58-1/2 | 371 |
| 90-1.1/2-36 | 1-1/2 | 36 | 3 | 2 | 25 | 18 | 1 | 6 | 5 | 48 | 58-1/2 | 388 |
| 90-1.1/2-42 | 1-1/2 | 42 | 3 | 2 | 25 | 21 | 1 | 6 | 5 | 48 | 58-1/2 | 432 |
| 90-1.1/2-48 | 1.1/2 | 48 | 3 | 2 | 25 | 24 | 1 | 6 | 5 | 48 | 58-1/2 | 459 |
| 90-2-36 | 2 | 36 | 3 | 2 | 25 | 18 | 1 | 6 | 5 | 48 | 59-1/2 | 448 |
| 90-2-42 | 2 | 42 | 4 | 2 | 25 | 21 | 1 | 6 | 5 | 48 | 59-1/2 | 536 |
| 90-2-48 | 2 | 48 | 4 | 2 | 25 | 24 | 1 | 6 | 5 | 48 | 59-1/2 | 627 |
| 90-3-42 | 3 | 42 | 4-1/2 | 2-1/2 | 25 | 21 | 1-1/2 | 6-1/8 | 7 | 48 | 61-1/2 | 766 |
| 90-3-48 | 3 | 48 | 4-1/2 | 2-1/2 | 27 | 24 | 1-1/2 | 6-1/8 | 7 | 48 | 61-1/2 | 823 |
| 90-3-54 | 3 | 54 | 4-1/2 | 2-1/2 | 3 | 27 | 1-1/2 | 6-1/8 | 7 | 48 | 61-1/2 | 969 |
| 90-4-48 | 4 | 48 | 5 | 3 | 27 | 24 | 1-1/2 | 6-1/8 | 7 | 48 | 63-1/2 | 1176 |
| 90-4-60 | 4 | 60 | 5 | 3 | 30 | 30 | 1-1/2 | 6-1/8 | 7 | 60 | 75-1/2 | 1393 |
| 90-5-48 | 5 | 48 | 5 | 3 | 30 | 24 | 1-1/2 | 6-1/8 | 7 | 48 | 63-1/2 | 1193 |
| 90-5-60 | 5 | 60 | 4-1/2 | 2-1/2 | 38 | 30 | 1-1/2 | 8-1/8 | 7 | 60 | 75-1/2 | 1403 |



