Product Features

  • Converts overhead crane to lift truck.
  • Double frame designe for heavy capacities.
  • Counter balanced to hang level when empty.
  • Maintenance free.
  • Allows for ease of loading/unloading in not easily accessible areas.
  • Complies with ASME standards.

Product Specifications



Model 95 Specifications
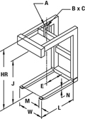
Dimensional Information (all dimensions in inches, unless otherwise specified)
Model Number Capacity (tons) L M N W E A B C J* HR Weight (lbs.)
95-7.1/2-48 7.1/2 48 6 2.1/2 30 24 2 5 9 48 65 1910
95-7.1/2-60 7.1/2 60 10 3 38 30 2 5 9 60 79 2400
95-10-48 10 48 10 3 30 24 2 5 9 48 69 1950
95-10-60 10 60 10 3 38 30 2 5 9 60 81 3100
95-15-48 15 48 10 3 38 24 2 6 12 60 84 2250
95-15-60 15 60 10 3 38 30 2 6 12 60 75 3800
95-20-60 20 60 7 4 38 30 2.1/4 6 12 60 88 4300
95-20-72 20 72 8.1/4 4 44 36 2.1/4 6 12 60 88 4850