Inter Product – IPBHZ
|
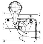
For the lifting and transfer of steel beams This clamp is used for the horizontal lifting and transfer of steel beams. The IPBHZ clamp is designed with a latch which allows the operator to place the clamp, lock it closed and move away from the load before the lift begins.
|
|||||||||||||||||||||||||||||||||||||||||||
| Model | Order No. |
WLL per pce in t |
Weight per pce lbs |
|---|---|---|---|
| 0,75-IPBHZ | 5461 | 0.75 | 7 |
| 1,5-IPBHZ | 5462 | 1.5 | 13 |
| 3-IPBHZ | 5463 | 3.0 | 24 |
| 4,5-IPBHZ | 5464 | 4.5 | 46 |
|
|||||||||||||||||||||||
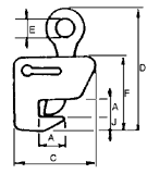
| Model | Order No. |
WLL per pce in t |
Jaw A |
Dimensions In Inches | Weight per pce lbs |
||||||||
|---|---|---|---|---|---|---|---|---|---|---|---|---|---|
| B | C | D | E | F | G | H | J | K | |||||
| 0,75-IPBHZ | 5461 | 0.75 | 0-1 | 13764 | 55364 | 82132 | 13132 | 518 | 22332 | – | 11964 | – | 7 |
| 1,5-IPBHZ | 5462 | 1.5 | 0-1 | 22364 | 778 | 10364 | 13132 | 6132 | 278 | – | 138 | – | 13 |
| 3-IPBHZ | 5463 | 3.0 | 0-1 1/2 | 3532 | 81516 | 125164 | 234 | 71332 | 41332 | – | 112 | – | 24 |
| 4,5-IPBHZ | 5464 | 4.5 | 0-1 1/2 | 41332 | 11316 | 161764 | 234 | 978 | 4916 | – | 3532 | – | 46 |










