Inter Product – IPHGZ / IPHGUZ
|
For horizontal transfer with locking device These are designed for the lifting and transfer of steel plates in the horizontal position. These clamps have a locking device which allows the operator to position the clamp and then move away from the load before the lift begins.
|
|||||||||||||||||||||||||||||||||||||||
| Model | Order No. | WLL per pce in t |
Weight per pce lbs |
|---|---|---|---|
| with universal hoisting eye | |||
| 1,5-IPHGUZ | 5455 | 1.5 | 18 |
| with fixed hoisting eye | |||
| 0,75-IPHGZ | 5451 | 0.75 | 8 |
| 1,5-IPHGZ | 5452 | 1.5 | 16 |
| 3-IPHGZ | 5453 | 3.0 | 27 |
| 4,5-IPHGZ | 5454 | 4.5 | 46 |
|
||||||||||||||||
| Model | Order No. |
WLL per pce in t |
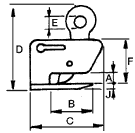
Jaw A |
Dimensions In Inches | Weight per pce lbs |
||||||||
|---|---|---|---|---|---|---|---|---|---|---|---|---|---|
| B | C | D | E | F | G | H | J | K | |||||
| with universal hoisting eye | |||||||||||||
| 1,5-IPHGUZ | 5455 | 1.5 | 0-1 | 4 21/64 | 9 9/64 | 11 19/64 | 2 3/4 | 5 15/32 | 3 35/64 | – | 25/32 | 5/8 | 18 |
| with fixed hoisting eye | |||||||||||||
| 0,75-IPHGZ | 5451 | 0.75 | 0-1 | 3 15/64 | 5 53/64 | 8 7/64 | 1 31/32 | 3 57/64 | 3 55/64 | – | 15/32 | 55/64 | 8 |
| 1,5-IPHGZ | 5452 | 1.5 | 0-1 | 4 21/64 | 7 7/8 | 9 27/32 | 1 31/32 | 4 41/64 | 3 35/64 | – | 25/32 | 7/64 | 16 |
| 3-IPHGZ | 5453 | 3.0 | 0-1 1/2 | 4 23/32 | 8 15/16 | 12 1/64 | 2 3/4 | 5 53/64 | 4 23/32 | – | 1 | 1 17/64 | 27 |
| 4,5-IPHGZ | 5454 | 4.5 | 0-1 1/2 | 4 23/32 | 11 3/16 | 15 | 2 3/4 | 7 1/8 | 6 7/64 | – | 1 3/16 | 1 37/64 | 46 |












