Standard Adjustable Fork
The Standard Model 91 Adjustable Fork Pallet Lifter is a great solution when handling a wide range of pallet sizes. The forks easily adjust to the desired location and locked into place with the adjusting tool stored directly on the lifter.
Product Features
- Converts overhead crane into lift truck.
- Pry bar adjustable forks to handle multiple pallet sizes.
- Counter balanced to hang level when empty.
- Complies with ASME standards.
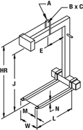
Product Specifications

| Model 91 Specifications | |||||||||||||
|---|---|---|---|---|---|---|---|---|---|---|---|---|---|
| Dimensions shown in inches, unless noted. | |||||||||||||
| Model Number | Capacity (tons) | L | M | N | W - Min. | W - Max. | E | A | B | C | J* | HR | Weight (lbs) |
| 91-1-36 | 1 | 36 | 2 | 2 | 16 | 38 | 18 | 1 | 3 | 5 | 48 | 58 | 670 |
| 91-1-42 | 1 | 42 | 2 | 2 | 16 | 38 | 21 | 1 | 3 | 5 | 48 | 58 | 760 |
| 91-1-48 | 1 | 48 | 2 | 2 | 16 | 38 | 24 | 1 | 3 | 5 | 48 | 59 | 780 |
| 91-1 1/2-36 | 1-1/2 | 36 | 3 | 2 | 16 | 38 | 18 | 1 | 3 | 5 | 48 | 59 | 845 |
| 91-1 1/2-42 | 1-1/2 | 42 | 3 | 2 | 16 | 38 | 21 | 1 | 3 | 5 | 48 | 59 | 900 |
| 91-1 1/2-48 | 1-1/2 | 48 | 3 | 2 | 16 | 38 | 24 | 1 | 3 | 5 | 48 | 60 | 950 |
| 91-2-36 | 2 | 36 | 3 | 2 | 16 | 38 | 18 | 1 | 3 | 5 | 48 | 60 | 980 |
| 91-2-42 | 2 | 42 | 4 | 2 | 16 | 38 | 21 | 1 | 3 | 5 | 48 | 60 | 1060 |
| 91-2-48 | 2 | 48 | 4 | 2 | 16 | 38 | 24 | 1 | 3 | 5 | 48 | 59-1/2 | 1080 |
| 91-3-42 | 3 | 42 | 4-1/2 | 2-1/2 | 16 | 38 | 21 | 1-1/2 | 4 | 7 | 48 | 61-1/2 | 1250 |
| 91-3-48 | 3 | 48 | 4-1/2 | 2-1/2 | 16 | 38 | 24 | 1-1/2 | 4 | 7 | 48 | 61-1/2 | 1368 |
| 91-3-54 | 3 | 54 | 4-1/2 | 2-1/2 | 16 | 38 | 27 | 1-1/2 | 4 | 7 | 48 | 63 | 2005 |
| 91-4-48 | 4 | 48 | 5 | 3 | 19 | 38 | 24 | 1-1/2 | 4 | 7 | 48 | 64 | 1600 |
| 91-4-60 | 4 | 60 | 5 | 3 | 19 | 38 | 30 | 1-1/2 | 4 | 7 | 48 | 64 | 2240 |
| 91-5-48 | 5 | 48 | 5 | 3 | 19 | 38 | 24 | 1-1/2 | 4 | 7 | 48 | 65 | 1865 |
| 91-5-60 | 5 | 60 | 4-1/2 | 2-1/2 | 19 | 38 | 30 | 1-1/2 | 4 | 7 | 60 | 77 | 2190 |
|
* We recommend an additional 3 - 4" clearance above the load for ease of loading and unloading the lifter.
|
|||||||||||||



