Wheeled Pallet Lifter
Wheels allow for movement of lifter without crane.
Product Features
- Wheels allow for movement of unit without crane.
- Dual lift points eliminates need for counterweight.
- Extremely lightweight for ease of handling.
- Complies with ASME standards.
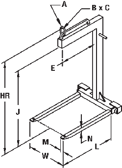
Model 93W
The model 93W being used to lift a load from an upper level manufacturing area to the lower shipping bay.
Product Specifications

| Model 93W Specifications | ||||||||||||
|---|---|---|---|---|---|---|---|---|---|---|---|---|
| Model numbers shown in red are part of our QUICKSHIP program. | ||||||||||||
| Model Number | Capacity (tons) | L (in.) | M (in.) | N (in.) | W (in.) | E (in.) | A (in.) | B (in.) | C (in.) | J (in.) | HR (in.) | Weight (lbs) |
| 93W-1-48 | 1 | 36 | 2 | 2 | 25 | 24 | 1/2 | 2-1/2 | 3-3/4 | 48 | 60 | 245 |
| 93W-2-48 | 2 | 36 | 4 | 2 | 25 | 24 | 3/4 | 2-3/4 | 4-/12 | 48 | 62 | 405 |



