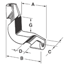
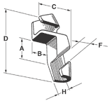
Sling Saddles were developed to protect loads and to extend the life of expensive wire rope slings. They slide on to the sling body and can easily be adjusted by hand. The body of the sling is protected at all times and the Sling Saddles make certain that the sling is not cut by the load. Made from manganese bronze alloy.

Dimensions (inch) Bottom Saddle
Wire Rope dia. A B C D G lbs each
3/8 2.12 3.00 .88 .44 1.25 .5
1/2 3.06 4.50 1.20 .62 1.88 1.5
5/8 3.44 5.00 1.31 .75 2.00 1.8
3/4 4.56 6.25 1.50 .94 2.62 3.0
7/8 & 1 5.12 7.38 1.75 1.12 3.12 5.0
1-1/8 & 1-1/4 6.12 9.00 2.12 1.38 3.75 10.0
1-3/8 & 1-1/2 6.88 10.25 2.38 1.69 4.12 11.0

Dimensions (inch) Top Saddle
Wire Rope dia. A B C D F H lbs each
3/8 1.16 .72 1.69 3.62 .44 .88 .5
1/2 1.88 1.20 2.56 5.31 .62 1.20 1.3
5/8 2.00 1.38 2.94 4.88 .75 1.31 1.5
3/4 2.50 1.72 3.60 7.50 .94 1.50 2.5
7/8 & 1 3.00 2.20 4.44 8.75 1.12 1.75 4.3
1-1/8 & 1-1/4 3.50 2.38 5.00 10.38 1.38 2.12 7.5
1-3/8 & 1-1/2 4.25 2.82 5.94 11.88 1.69 2.38 9.0