Load Pins
Load Pin, 0.5-1500 tonnes
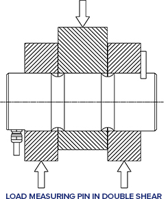
The Straightpoint range of Load Measurement Pins (LMP’s) are designed for use in applications where an end of line load cell cannot be used, meaning an integrated solution is required.
Often a customised solution, they are manufactured from high tensile stainless steel and are normally supplied complete with an anti-rotation plate as a cabled or wireless solution.
Built to withstand the harshest environments in industries such as marine and offshore oil and gas, they are suitable for use in exposed situations and can also be supplied to withstand immersion in seawater at extreme depths.
Straight-point Loadpins are typically connected to Straight-point’s Handheld plus, or may be supplied with a vast array of output formats. These include mV/V, RS-422, RS-485, utilizing the ASCII, MODBUS RTU and CAN-BUS protocols or an analogue output such as 4-20mA for PLC integration. All are also supplied with a 10 metre or 32ft cable as standard, however, usable cable length varies greatly with lengths available to 1500 metres or 4900ft, depending on output format.
Please email your enquiry to: sale@stuhllift.com
Features:
- Rugged design
- Ability to transmit to multiple hand held displays
- 2.4Ghz licence free frequency
- 800m range line of sight
- Stainless steel construction
- Low headroom when rigged
- Supplied with load centering bobbin
- Remote power on/off feature
- Sleep mode for battery conservation
Dimensional Data



Standard Loadpin specifications |
||||||||||||||
| Part Number | LP500KG | LP1T | LP2.5T | LP3.5T | LP6.5T | LP15T | LP25T | LP50T | LP100T | LP250T | LP500T | LP750T | LP1000T | LP1500T |
| Capacity | 500kg | 1000kg | 2.5te | 3.5te | 6.5te | 15te | 25te | 50te | 100te | 250te | 500te | 750te | 1000te | 1500te |
| 1100lbs | 2200lbs | 5500lbs | 7700lbs | 14,000lbs | 33,000lbs | 55,000lbs | 110,000lbs | 220,000lbs | 550,000lbs | 110,0000lbs | 165,0000lbs | 220,0000lbs | 330,0000lbs | |
| Resolution | 0.2kg | 0.5kg | 0.001te | 0.001te | 0.002te | 0.002te | 0.005te | 0.01te | 0.05te | 0.1te | 0.2te | 0.2te | 0.5te | 0.5te |
| 0.5lb | 1lb | 2lb | 2lb | 5lb | 5lb | 10lb | 20lb | 100lb | 200lb | 500lb | 500lb | 1000lb | 1000lb | |
| Weight | 0.9kg | 1kg | 1.2kg | 1.4kg | 2kg | 3.1kg | 5.6kg | 8.6kg | 11.8kg | 29.8kg | 79.2kg | 146kg | 275kg | 389kg |
| 0.4lb | 0.5lb | 0.9lb | 1.3lb | 2.6lb | 5lb | 10.3lb | 18lb | 24lb | 64lb | 172lb | 319lb | 603lb | 854lb | |
| Units | kgs,tonnes | |||||||||||||
| Protection | IP67 (IP68 available as option) | |||||||||||||
| Safety Factor | 300% of SWL | |||||||||||||
| Operating Temperature | -20 to +70 °C | |||||||||||||
| -4 to 158˚F | ||||||||||||||
| Accuracy | ±1% full scale | |||||||||||||
| Dim A | 24 | 35 | 45 | 50 | 63 | 75 | 89 | 102 | 110 | 130 | 225 | 295 | 360 | 430 |
| 0.94 | 1.38 | 1.77 | 1.97 | 2.48 | 2.95 | 3.50 | 4.02 | 4.33 | 5.12 | 8.86 | 11.61 | 14.17 | 16.93 | |
| Dim B | 36 | 49 | 70 | 75 | 95 | 114 | 152 | 178 | 190 | 220 | 370 | 500 | 612 | 731 |
| 1.42 | 1.93 | 2.76 | 2.95 | 3.74 | 4.49 | 5.98 | 7.01 | 7.48 | 8.66 | 14.57 | 19.69 | 24.09 | 28.78 | |
| Dim C | 70 | 80 | 100 | 105 | 125 | 150 | 195 | 225 | 230 | 300 | 440 | 590 | 712 | 832 |
| 2.76 | 3.15 | 3.94 | 4.13 | 4.92 | 5.91 | 7.68 | 8.86 | 9.06 | 11.81 | 17.32 | 23.23 | 28.03 | 32.76 | |
| Dim ØD | 20 | 20 | 25 | 30 | 40 | 50 | 63 | 75 | 88 | 125 | 170 | 200 | 250 | 275 |
| 0.79 | 0.79 | 0.98 | 1.18 | 1.57 | 1.97 | 2.48 | 2.95 | 3.46 | 4.92 | 6.69 | 7.87 | 9.84 | 10.83 | |











